鶴管緊急拉斷閥的工作原理
該信息來自:鶴管廠家 作者:連云港機床 發表時間:2024-04-03 09:58:10 瀏覽量:
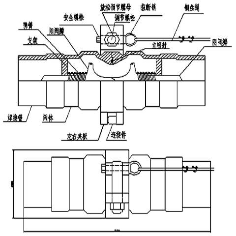
鶴管緊急拉斷閥是一種安全裝置,通常安裝在鶴管的前端。其主要作用是在緊急情況下,如鶴管受到意外拉力或壓力超出設定值時,能夠自動、快速地與槽車或其他連接設備脫離,從而保護鶴管和相關設備,避免發生泄漏事故,確保流體裝卸過程中的安全。
拉斷閥(切斷閥)緊急脫開系統在船用及陸用鶴管(陸用流體裝卸臂)中最大程度的確保了流體輸送中的安全性。通過一個簡單而獨特的設計,當鶴管超過了操作系統的額定量時,這種系統在鶴管中可以全自動的安全斷開而無任何泄漏。緊急拉斷閥(緊急切斷閥)在危險發生時確保觸發、瞬間閉合閥門、極少的滴漏和相對小的壓力損失。拉斷機構既要保證“緊急脫離”時使設備能夠自動、快速脫離;又要保證脫離前有“緩沖期”,避免常規操作時出現“脫離”,影響正常裝卸作業。

機床廠裝備推薦:緊急拉斷閥
一、工作過程 在正常工作狀態下,當鶴管與槽車對接后,首先手工取開安全螺栓(卸下燕尾螺母即可),然后可以開閥進行裝卸作業,當完成裝卸作業后,要先裝上安全螺栓,然后進行鶴管與槽車分離操作,使鶴管復位。在緊急情況下,如果槽車意外移動,鶴管緊急拉斷閥會自動斷開,防止因裝卸槽車的無意遛車而拉斷裝卸管引起泄漏。
二、安全性能 鶴管緊急拉斷閥具有非常可靠的切斷動作,非常適合作為介質的切斷或調節及節流使用。它能夠在緊急情況下使設備能夠自動、快速脫離,避免常規操作時出現脫離,影響正常裝卸作業。此外,拉斷機構既要保證緊急脫離時使設備能夠自動、快速脫離;又要保證脫離前有緩沖期,避免常規操作時出現脫離。
三、密封性能 鶴管緊急拉斷閥在脫離后,與軟管相連的一端不可避免地會摔落在地上,并隨槽車拖走,為避免因強烈碰撞產生火花,材質選用不銹鋼(通常為304)或黃銅;而鶴管型緊急脫離裝置在脫離后則不同,兩端均不會摔落在地上,可以選用碳鋼,但考慮到防銹需要,所有金屬零部件表面均鍍硬鉻(或化學鍍鎳)。這樣可以確保在緊急脫離后,分開的兩部分能有效密封。
四、復原過程 在脫離后的復原過程中,需要排空管線后進行恢復工作。緊急脫離裝置恢復前,檢查主密封和副密封是否損壞(燒壞),有損壞則卸下主密封座更換主密封;否則只需更換新的拉斷螺栓便可。
用戶 · 評價
[免責聲明]:部分文章信息來源于網絡以及網友投稿,本網站只負責對文章進行整理、排版、編輯,是出于傳遞 更多信息之目的,并不意味著贊同其觀點或證實其內容的真實性,如本站文章和轉稿涉及版權等問題,請作者在及時聯系本站,我們會盡快處理。
標題:鶴管緊急拉斷閥的工作原理
地址:http://www.nehhq.com.cn/newsproblem/380.html









